-
Technology

Samsung to release cheaper version of its folding mobile: the Galaxy Z Fold Lite
In 2021, the South Korean giant would introduce a more affordable folding phone alongside the Galaxy Z Flip 2 and…
Read More » -
Technology

Released the first iPhone 12 Pro without cameras for more than $6,000
This limited edition iPhone 12 Pro is designed “for those who want to feel safe in all situations”. Caviar, the…
Read More » -
Technology

Google Chrome: So you can turn on dark mode on any web page
The browser has a hidden feature that allows you to enable the dark interface on all websites, even if they…
Read More » -
Technology

Google Chrome: How to install the browser on an Android TV?
Although Android Smart TVs don’t have support for accessing Google Chrome from the Play Store, there’s a simple way to…
Read More » -
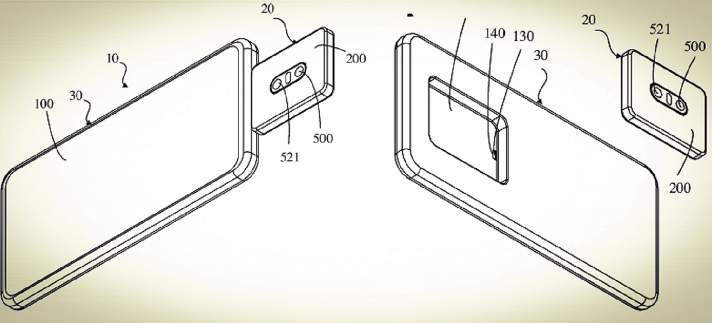
Technology

Tech giant develops smartphone with removable camera module
Thanks to this system, the camera module could be used to photograph from both the front and the back of…
Read More » -
Technology

AMD also plans its own ARM chip like the Apple M1
Report points out that AMD has already created a prototype M1 chip in two versions: one with built-in RAM and…
Read More » -
Technology

Meet the top 10 of the world’s most powerful Android phones, according to AnTuTu
There are ten smartphones on the market that should be at the top of your list of candidates if you are looking…
Read More » -
Technology

YouTube: Learn the trick to converting audio from a video to text
If you want to know what they said in a YouTube video but don’t have much time, this method will…
Read More »








